Saturday February 2026

হটলাইন

সেবা এবং ধাপ

নং শিরোনাম সেবার ধাপ কার্যকলাপ
  
জাতীয় জরুরী প্রয়াজনে নিবার্হী আদেশবলে স্বল্প মেয়াদে আনসার অঙ্গীভূতকরণ দেখুন
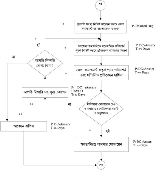
অঙ্গীভূত আনসার মোতায়েনের মাধ্যমে নিরাপত্তা সেবা দেখুন
সরকারী/বেসরকারী সংস্থায় আনসার অঙ্গীভূতকরণ দেখুন
পেশাভিত্তিক প্রশিক্ষণ দেখুন
সাধারণ আনসার মৌলিক প্রশিক্ষণ (পুরুষ ও মহিলা) দেখুন
গ্রাম ভিত্তিক মৌলিক প্রশিক্ষণ (ভিডিপি পুরুষ ও মহিলা) দেখুন
দেখছেন ১ থেকে ৬ পর্যন্ত, মোট ৬ এন্ট্রি

এক্সেসিবিলিটি

স্ক্রিন রিডার ডাউনলোড করুন